Quatrevelo Front Brakes

Quatrevelo Front Brakes

Here you can find technical support information for Quatrevelo “Front brakes” parts. On this page you can see exploded views of the front brakes. If you have questions do not hesitate to contact us, we would like to help you.

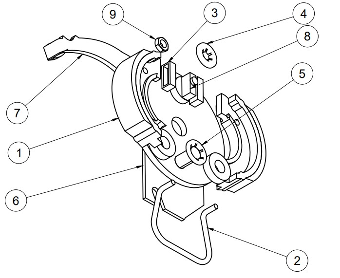
Exploded Views

Exploded view drawings can show you the relationship between different components and how they fit together. It helps understand the order of assembly of the different parts. Below you can see different exploded views for “Front brakes” zone.

QV BRAKE Block L

Where You Can Order Parts

You can order velomobile parts from dealers. Search your local or nearest dealer HERE.

Technical specifications and maintenance procedures are subject to updates. Always refer to the latest documentation for current information.

Need assistance? Contact us at sales@velomobileworld.com